Recloser Control Market Leaders: ABB, Eaton, and Siemens Competitive Analysis

0
8

Global Recloser Control Market to Surge to US$ 1.85 Billion by 2029, Driven by Massive Investments in Grid Modernization and Smart Grid Infrastructure

The global energy landscape is undergoing a radical transformation. As nations pivot toward smarter, more resilient power grids, the Global Recloser Control Market is emerging as a cornerstone of modern electrical distribution. According to recent industry analysis, the market—which was valued at US$ 1.21 Billion in 2022—is projected to grow at a robust CAGR of 6.24%, reaching a valuation of US$ 1.85 Billion by 2029.

🚀Instant Access: Download PDF Brochure Now @ https://www.maximizemarketresearch.com/request-sample/65892/ 

The Vital Role of Recloser Controls in Modern Power Grids

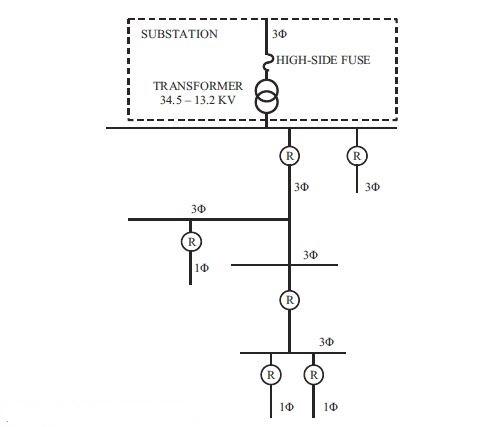
A Recloser Control is not merely an electrical switch; it is the "brain" of the distribution system. In an era where power continuity is critical for both digital economies and industrial manufacturing, reclosers act as high-tech guardians.

They are engineered to clear circuit errors and increase serviceability by automatically regenerating power lines after momentary faults. Unlike traditional fuses that require manual replacement, a recloser senses a short circuit and "recloses" the circuit to test if the fault was temporary (such as a tree branch touching a wire). This capability prevents prolonged blackouts and significantly reduces operational costs for utility providers.

Key Benefits of Advanced Recloser Controls:

  • Enhanced Earth Fault Shield: Critical for preventing hazardous electrical leaks.

  • Rapid Metering: Integrated sensors provide real-time data on power flow.

  • RTU Integration: Remote Terminal Units allow for single-insertion remote control, enabling engineers to manage grids from miles away.

  • Event Logging: Comprehensive data collection for post-fault analysis and predictive maintenance.

Market Dynamics: What is Driving This 6.24% Growth?

1. Global Grid Modernization Schemes

The primary catalyst for market expansion is the aggressive push for grid renovation. As per industry studies, approximately USD 8.9 Trillion will be invested in electricity distribution infrastructure by 2040. Legacy systems are being replaced with automation-ready reclosers to handle the complexities of modern energy loads.

2. Rising Urbanization and Industrial Demand

Rapid industrialization, particularly in developing economies, has created a zero-tolerance environment for power fluctuations. The integration of Recloser Controls ensures that temporary faults do not lead to expensive industrial downtime.

3. Renewable Energy Integration

As the world shifts toward solar and wind power, distribution networks are becoming more decentralized. Recloser controls are essential for managing the bi-directional flow of energy and maintaining grid stability when connecting renewable sources to the main power line.

Regional Insights: Asia-Pacific Takes the Lead

The Asia-Pacific (APAC) region dominated the market in 2022, generating a staggering USD 730 Million in revenue. This growth is fueled by:

  • China’s Energy Policy: Targeting 20% of energy needs from low-CO2 sources by 2030, necessitating a massive overhaul of distribution controls.

  • India’s Rural Electrification: Massive government schemes to provide stable power to every corner of the country.

Meanwhile, North America remains a steady contributor, with the United States market expected to reach USD 233.3 MillionEurope is also seeing significant traction, with Germany leading the way through a 3.3% CAGR, focused on sustainable and digitalized substations.

Market Segmentation Analysis

To provide a clear view for investors and stakeholders, the market is segmented as follows:

By Type

  • Electric: High demand due to integration with digital communication protocols.

  • Hydraulic: Used primarily in legacy systems or specific rugged environments.

By Phase

  • Three-Phase: The dominant segment, essential for industrial and commercial feeders.

  • Single-Phase: Often used for residential distribution lines.

  • Triple-Single Phase: Offers flexibility for complex utility configurations.

By Voltage

  • Up to 15 kV: The most common segment for standard distribution.

  • 16-27 kV: Growing demand for medium-voltage rural networks.

  • 28-38 kV: Used for high-capacity distribution lines.

Competitive Landscape: Top Brands Shaping the Future

The Recloser Control market is highly competitive, with key players focusing on R&D and strategic contracts. Notable leaders include:

  1. ABB (Switzerland)

  2. Eaton (Ireland)

  3. Siemens (Germany)

  4. Schneider Electric (France)

  5. General Electric (U.S.)

  6. Noja Power (Australia)

  7. Stelmec (India)

Recent developments, such as Eaton’s new sequence of recloser products and Sterlite Power’s US$ 800 Mn contract in Brazil, highlight the massive scale of ongoing projects that will sustain market demand through 2029.

Frequently Asked Questions (FAQ)

Q1: Why is the Recloser Control Market growing so fast? The growth is primarily due to the global shift toward "Smart Grids" and the need for automatic fault restoration to prevent industrial losses.

Q2: What is the projected market value by 2029? The market is expected to reach US$ 1.85 Billion by 2029, growing at a CAGR of 6.24%.

Q3: Which region is the most profitable for Recloser Controls? Asia-Pacific is currently the largest and fastest-growing market due to rapid industrialization in China and India.

📧Contact Us for More Details & Table of Contents @  https://www.maximizemarketresearch.com/market-report/global-recloser-control-market-2/65892/ 

Search
Categories
Read More
Games
Comment acheter des crédits FC 26 et obtenir des FIFA Coins en toute sécurité
Comment acheter des crédits FC 26 et obtenir des FIFA Coins en toute...
By Casey 2025-10-14 09:39:49 0 736
Games
Cómo Comprar Monedas EA FC 25: Guía Completa para Aumentar tus Monedas FIFA
Cómo Comprar Monedas EA FC 25: Guía Completa para Aumentar tus Monedas FIFA Si...
By Casey 2025-09-07 10:28:21 0 856
Games
Como Comprar Moedas FIFA 25: Guia Completo para Adquirir Coins EA FC 25 de Forma Segura
Como Comprar Moedas FIFA 25: Guia Completo para Adquirir Coins EA FC 25 de Forma Segura No...
By Casey 2024-12-21 05:46:39 0 3K
Games
Comment Effectuer un Top Up dans Honkai Star Rail : Guide Pour Recharger HSR Efficacement
Comment Effectuer un Top Up dans Honkai Star Rail : Guide Pour Recharger HSR Efficacement Dans...
By Casey 2025-04-18 12:41:14 0 2K
Other
Unleash Your Wild Side: Experiencing a Thrilling Tiger Safari in Ranthambore
If you have ever dreamt of coming face-to-face with one of the most majestic creatures on the...
By tigersafaribandhavgarh 2025-10-22 14:10:32 0 2K